1. Fields of applications: Water & Non-Causticity Liquid &
Saturated Steam
2. Maximum Working pressure: Pn25
3. Female thread connections comply with lSO 228 (Bs2779


1. Fields of applications: Water & Non-Causticity Liquid &
Saturated Steam
2. Maximum Working pressure: Pn25
3. Female thread connections comply with lSO 228 (Bs2779
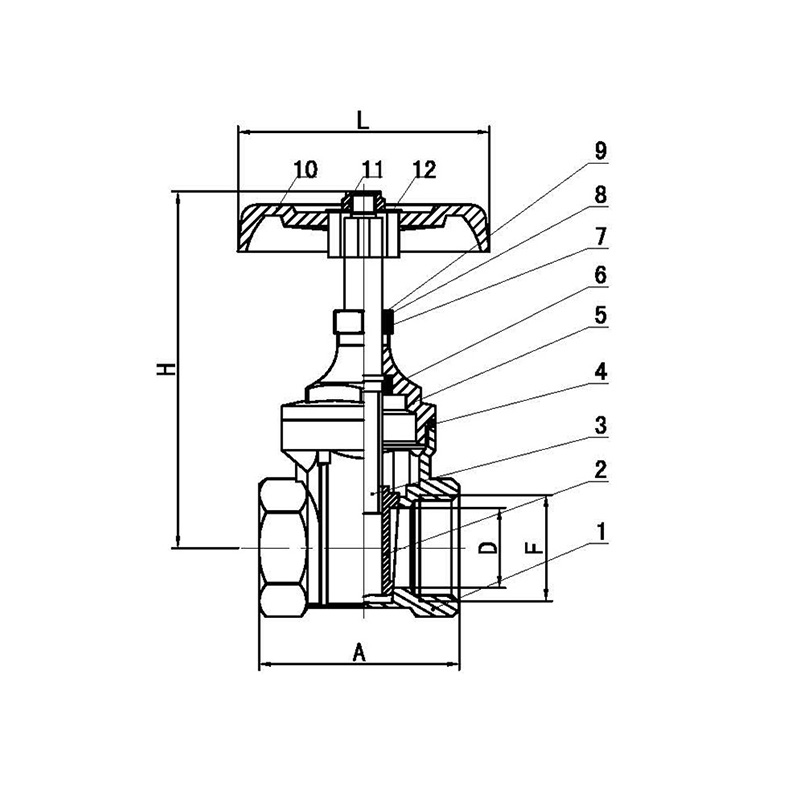
| Dimensions-Lever Handle | ||||
| F | D | A | H | L |
| 1/2" | 13 | 41.5 | 71 | 54 |
| 3/4" | 15 | 42.5 | 75 | 54 |
| 1" | 19.5 | 47 | 80 | 58 |
| 1-1/4" | 26 | 51 | 95 | 72 |
| 1/2" | 30 | 54.5 | 105 | 72 |
| 2" | 37 | 61 | 120 | 78 |
| Material-Lever Handle | ||
| NO. | Part Name | Material |
| 1 | BODY | BRASS |
| 2 | WEDGE | BRASS |
| 3 | SEAT | BRASS |
| 4 | WASHER | PTFE |
| 5 | BONNET | BRASS |
| 6 | SCREW RING | BRASS |
| 7 | PACKING | PTFE |
| 8 | GASKET | BRASS |
| 9 | GLANG NUT | BRASS |
| 10 | HANDWHEEL | IRON |
| 11 | LOCK NUT | STAINLESS STEEL |
| 12 | WASHER | ALUMINUM |